Оригинальные каталоги
| № | Номер | Наименование | Цена | |
|---|---|---|---|---|
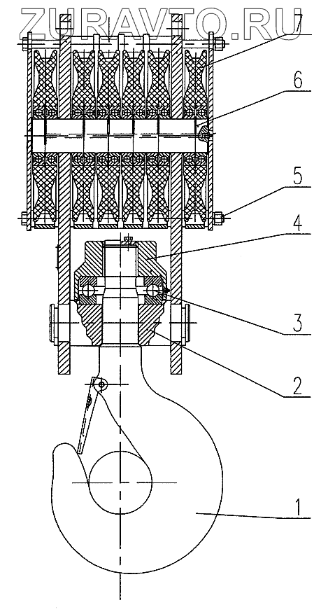
| 1 | QY50K.01-3 | Hook | Нет в продаже |
|
| 2 | QY50K.01-5 | Cross Beam | Нет в продаже |
|
| 3 | 10510095 | Bearing 51324 | Нет в продаже |
|
| 4 | QY50K.01-7 | Round nut | Нет в продаже |
|
| 5 | QY50K.01.12 | Assembling bolt | Нет в продаже |
|
| 6 | QY50K.01.9 | Pulley Shaft | Нет в продаже |
|
| 7 | QY35K.01.13 | Pulley component | Нет в продаже |
|
1
2
3
4
5
6
7
Содержащиеся в справочниках-каталогах запасные части и детали носят исключительно информационный характер