Оригинальные каталоги
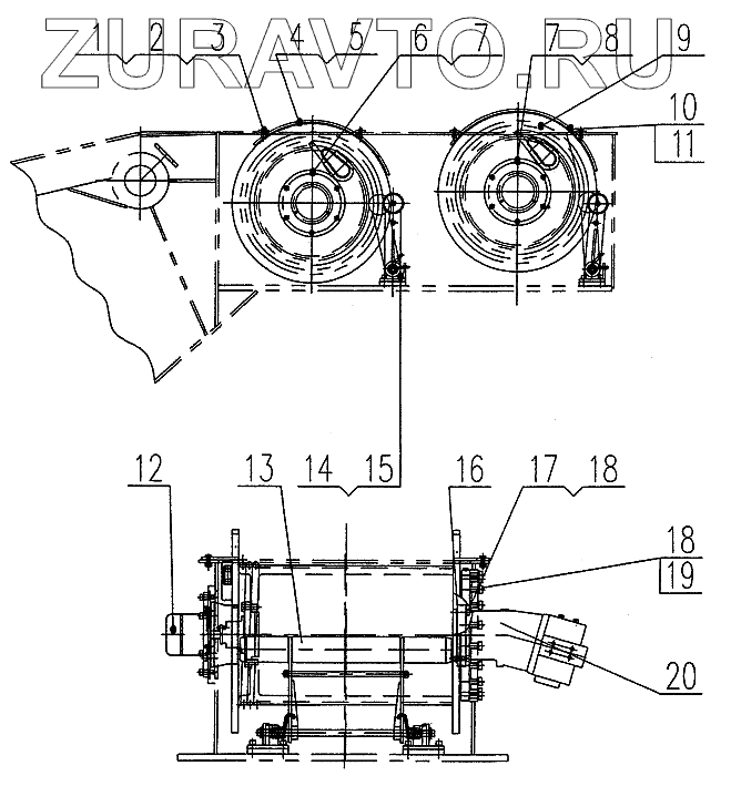
| № | Номер | Наименование | Цена | |
|---|---|---|---|---|
| 1 | 10430001 | Nut М8 | Нет в продаже |
|
| 2 | 10410013 | Bolt М8хЗ0 | Нет в продаже |
|
| 3 | 10440001 | Washer 8 | Нет в продаже |
|
| 4 | QY35K.08.1 | Protecting plate | Нет в продаже |
|
| 5 | QY35K.08.2 | Protecting plate | Нет в продаже |
|
| 6 | 10410043 | Bolt M12x35 | Нет в продаже |
|
| 7 | 10410374 | Bolt M6x16 | Нет в продаже |
|
| 8 | 10440022 | Washer 6 | Нет в продаже |
|
| 9 | 10310157 | Winch reduder | Нет в продаже |
|
| 10 | QY35K.08.4 | Protecting plate | Нет в продаже |
|
| 11 | QY35K.08.5 | Protecting plate | Нет в продаже |
|
| 12 | 10810032 | Counter | Нет в продаже |
|
| 13 | QY35K.08.3 | Wirerope presser | Нет в продаже |
|
| 14 | 10410067 | Bolt M12x28 | Нет в продаже |
|
| 15 | 10440010 | Washer 12 | Нет в продаже |
|
| 16 | 10130367 | O-ring 160x2.65A | Нет в продаже |
|
| 17 | 10410021 | Bolt M16x50 | Нет в продаже |
|
| 18 | 10440002 | Washer 16 | Нет в продаже |
|
| 19 | 10410170 | Bolt M16x55 | Нет в продаже |
|
| 20 | 20100401 | Motor | Нет в продаже |
|
1
2
3
4
5
6
7
7
8
9
10
11
12
13
14
15
16
17
18
18
19
20
Содержащиеся в справочниках-каталогах запасные части и детали носят исключительно информационный характер