Оригинальные каталоги
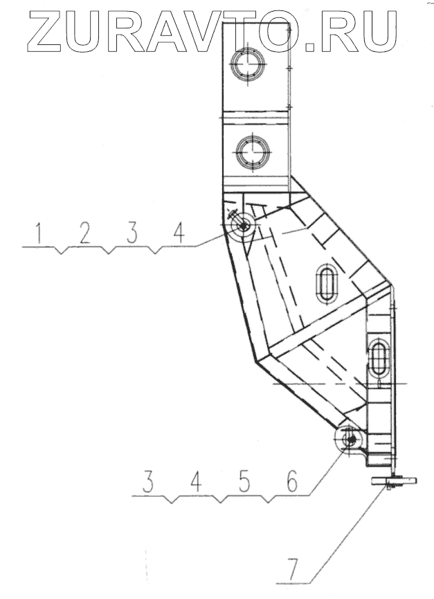
| № | Номер | Наименование | Цена | |
|---|---|---|---|---|
| 1 | QY50K.05-3 | Shaft | Нет в продаже |
|
| 2 | QY50K.05-5 | Clamp | Нет в продаже |
|
| 3 | 10410324 | Bolt M20x40 | Нет в продаже |
|
| 4 | 10440015 | Washer 20 | Нет в продаже |
|
| 5 | QY50K.05-4 | Shaft | Нет в продаже |
|
| 6 | QY50K.05-6 | Clamp | Нет в продаже |
|
| 7 | QY50K.05.2A | Pin | Нет в продаже |
|
1
2
3
3
4
4
5
6
7
Содержащиеся в справочниках-каталогах запасные части и детали носят исключительно информационный характер