Оригинальные каталоги
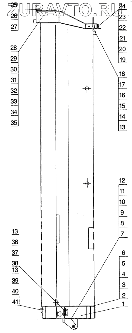
| № | Номер | Наименование | Цена | |
|---|---|---|---|---|
| 1 | QY65K.02II.3.1 | 3rd section structure | Нет в продаже |
|
| 2 | QY65K.02II.3-10 | Slider | Нет в продаже |
|
| 3 | QY25K.02II.2-8 | Pin | Нет в продаже |
|
| 4 | QY50K.02II.3-4 | Mat | Нет в продаже |
|
| 5 | QY50K.02II.3-5 | Mat | Нет в продаже |
|
| 6 | 10810006 | Washer 10 | Нет в продаже |
|
| 7 | QY50K.02II.3.2 | Pulley | Нет в продаже |
|
| 8 | QY50K.02II.2-6 | Sleeve | Нет в продаже |
|
| 9 | QY50K.02II.3-6 | Pin | Нет в продаже |
|
| 10 | QY25K.02II.2-12 | Retaining Plate | Нет в продаже |
|
| 11 | 10410001 | Bolt M6x12 | Нет в продаже |
|
| 12 | 10440022 | Washer 6 | Нет в продаже |
|
| 13 | 10420079 | Screw M8x25 | Нет в продаже |
|
| 14 | 10440001 | Washer 8 | Нет в продаже |
|
| 15 | 10430001 | Nut М8 | Нет в продаже |
|
| 16 | 10440131 | Washer 8 | Нет в продаже |
|
| 17 | QY35K.02II.2-2 | Skids | Нет в продаже |
|
| 18 | QY35K.02II.2-3 | Plate | Нет в продаже |
|
| 19 | QY25K.02II.1-6 | Bolt | Нет в продаже |
|
| 20 | 10430078 | Nut M16 | Нет в продаже |
|
| 21 | QY25K.02II.1-7 | Support | Нет в продаже |
|
| 22 | 10470107 | Pin B16x80 | Нет в продаже |
|
| 23 | 10470007 | Pin 4x30 | Нет в продаже |
|
| 24 | QY65K.02II.1-11 | Slider | Нет в продаже |
|
| 25 | QY25K.02II.2-25 | Retaining Plate | Нет в продаже |
|
| 26 | 10420018 | Bolt M12x30 | Нет в продаже |
|
| 27 | 10440010 | Washer 12 | Нет в продаже |
|
| 28 | QY65K.02II.3-2 | Gasket | Нет в продаже |
|
| 29 | QY65K.02II.3-3 | Mat | Нет в продаже |
|
| 30 | QY65K.02II.3-4 | Mat | Нет в продаже |
|
| 31 | QY65K.02II.3-5A | Slider | Нет в продаже |
|
| 32 | QY65K.02II.3-6A | Slider | Нет в продаже |
|
| 33 | QY65K.02II.3-7 | Gasket | Нет в продаже |
|
| 34 | QY65K.02II.3-8 | Slider | Нет в продаже |
|
| 35 | QY65K.02II.3-9 | Slider | Нет в продаже |
|
| 36 | QY65K.02II.3-11 | Slider | Нет в продаже |
|
| 37 | QY65K.02II.3-12 | Mat | Нет в продаже |
|
| 38 | QY65K.02II.3-13 | Mat | Нет в продаже |
|
| 39 | QY65K.02II.2-5 | Slider | Нет в продаже |
|
| 40 | QY25K.02II.2-17 | Mat | Нет в продаже |
|
| 41 | QY25K.02II.2-18 | Mat | Нет в продаже |
|
1
2
3
4
5
6
7
8
9
10
11
12
13
13
13
14
15
16
17
18
19
20
21
22
23
24
25
26
27
28
29
30
31
32
33
34
35
36
37
38
39
40
41
Содержащиеся в справочниках-каталогах запасные части и детали носят исключительно информационный характер