Оригинальные каталоги
| № | Номер | Наименование | Цена | |
|---|---|---|---|---|
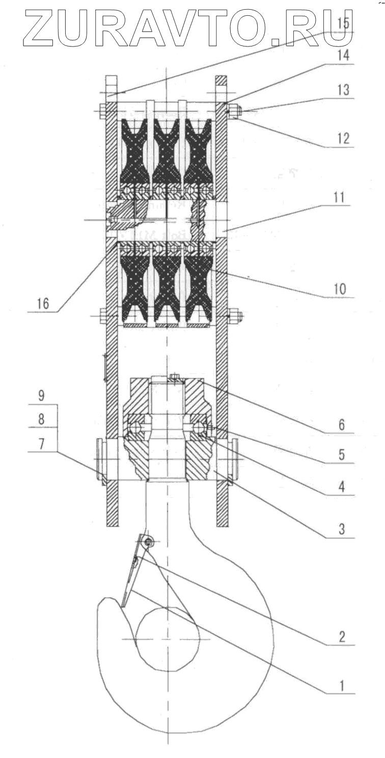
| 1 | QY35K.01-1 | Retaining Plate | Нет в продаже |
|
| 2 | QY35K.01-2 | Spring | Нет в продаже |
|
| 3 | QY35K.01-5 | Cross Beam | Нет в продаже |
|
| 4 | 10510094 | Bearing 51320 | Нет в продаже |
|
| 5 | 10810011 | Oil Cup М8x1 | Нет в продаже |
|
| 6 | QY35K.01-7 | Round Nut | Нет в продаже |
|
| 7 | QY35K.01-4 | Retaining Plate | Нет в продаже |
|
| 8 | 10440044 | Bolt | Нет в продаже |
|
| 9 | 10440010 | Washer 12 | Нет в продаже |
|
| 10 | QY65K.01.9 | Pulley component | Нет в продаже |
|
| 11 | QY70K.34-3 | Pulley Shaft | Нет в продаже |
|
| 12 | QY70K.34.6 | Assembling Bolt | Нет в продаже |
|
| 13 | 10430008 | Nut M20 | Нет в продаже |
|
| 14 | QY70K.34-4 | Right Stand Plate | Нет в продаже |
|
| 15 | QY70K.34-5 | Left Stand Plate | Нет в продаже |
|
| 16 | QY70K.34-2 | Sleeve | Нет в продаже |
|
1
2
3
4
5
6
7
8
9
10
11
12
13
14
15
16
Содержащиеся в справочниках-каталогах запасные части и детали носят исключительно информационный характер