Оригинальные каталоги
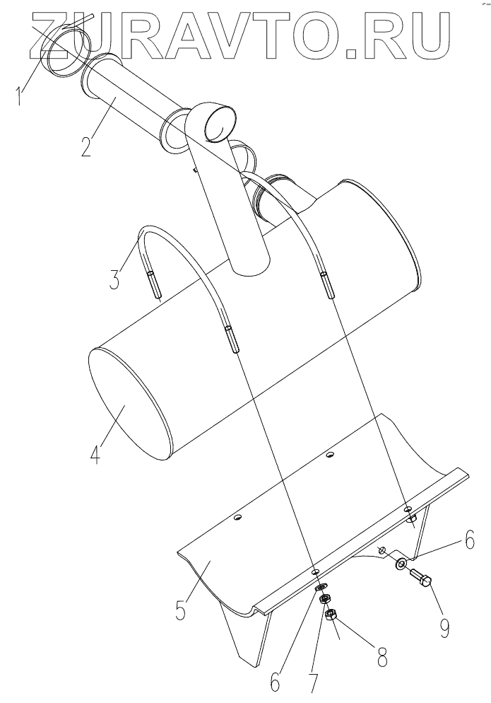
| № | Номер | Наименование | Цена | |
|---|---|---|---|---|
| 1 | 801902751 | Clamp | Нет в продаже |
|
| 2 | 800104282 | Exhaust Hose | Нет в продаже |
|
| 3 | 310400295 | Clamp | Нет в продаже |
|
| 4 | 800104334 | Muffler | Нет в продаже |
|
| 5 | 310400300 | Bracket | Нет в продаже |
|
| 6 | 805338278 | Washer | Нет в продаже |
|
| 7 | 805238410 | Nut | Нет в продаже |
|
| 8 | 805238366 | NUT M10 | Нет в продаже |
|
| 9 | 805046528 | Bolt | Нет в продаже |
|
1
2
3
4
5
6
6
7
8
9
Содержащиеся в справочниках-каталогах запасные части и детали носят исключительно информационный характер