Оригинальные каталоги
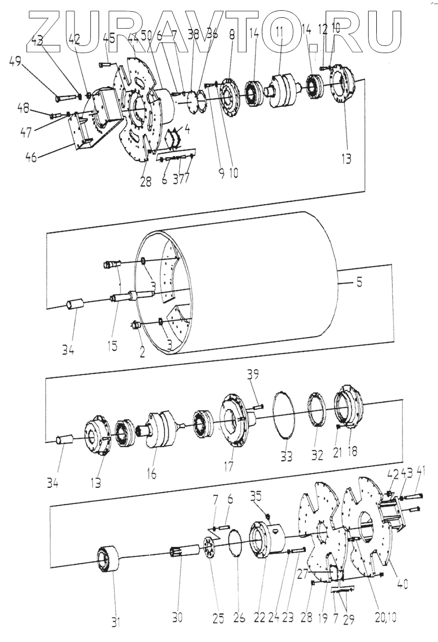
| № | Номер | Наименование | Цена | |
|---|---|---|---|---|
| 1 | 302120 | Level plug | Нет в продаже |
|
| 2 | 2B6032 | Plug | Нет в продаже |
|
| 3 | A5-4230 | Washer | Нет в продаже |
|
| 4 | B2-0805 | Shock absorber | Нет в продаже |
|
| 5 | 30020100 | Drum | Нет в продаже |
|
| 6 | C0-4485 | Bolt | Нет в продаже |
|
| 7 | B8-1040 | Washer | Нет в продаже |
|
| 8 | 2C1535 | Bearing housing | Нет в продаже |
|
| 9 | C0-5800 | Bolt | Нет в продаже |
|
| 10 | B8-1050 | Washer | Нет в продаже |
|
| 11 | 30020125 | Eccentric shaft left | Нет в продаже |
|
| 12 | C0-5560 | Bolt | Нет в продаже |
|
| 13 | 2C1540 | Bearing housing | Нет в продаже |
|
| 14 | C9-1593 | Bearing | Нет в продаже |
|
| 15 | 30020085 | Drive shaft | Нет в продаже |
|
| 16 | 30020150 | Eccentric shaft right | Нет в продаже |
|
| 17 | 2C2320 | Bearing housing right | Нет в продаже |
|
| 18 | 2B2780 | Bearing bracket | Нет в продаже |
|
| 19 | 30020090 | Mounting plate | Нет в продаже |
|
| 20 | C0-6020 | Bolt | Нет в продаже |
|
| 21 | C3-3060 | Nut | Нет в продаже |
|
| 22 | 21-1070 | Motor bracket | Нет в продаже |
|
| 23 | C0-0840 | Bolt | Нет в продаже |
|
| 24 | C4-3240 | Washer | Нет в продаже |
|
| 25 | 2B2810 | Bearing cover | Нет в продаже |
|
| 26 | A5-2690 | O-ring | Нет в продаже |
|
| 27 | B2-0806 | Shock absorber | Нет в продаже |
|
| 28 | C3-2980 | Nut | Нет в продаже |
|
| 29 | С 0-45 65 | Bolt | Нет в продаже |
|
| 30 | 21-0375 | Splined sleeve | Нет в продаже |
|
| 31 | C9-1450 | Bearing | Нет в продаже |
|
| 32 | A5-3510 | Sealing | Нет в продаже |
|
| 33 | A5-2760 | O-ring | Нет в продаже |
|
| 34 | 202560 | Rubber tube | Нет в продаже |
|
| 35 | В 8-3 050 | Filter plug | Нет в продаже |
|
| 36 | 2C2790 | Paper washer | Нет в продаже |
|
| 37 | C0-0660 | Bolt | Нет в продаже |
|
| 38 | 2C2340 | Cover | Нет в продаже |
|
| 39 | C2-5480 | Screw | Нет в продаже |
|
| 40 | 2F0525 | Ballast plate | Нет в продаже |
|
| 41 | C0-1000 | Bolt | Нет в продаже |
|
| 42 | C3-3120 | Nut | Нет в продаже |
|
| 43 | C4-3980 | Washer | Нет в продаже |
|
| 44 | 2СA060 | Drive plate | Нет в продаже |
|
| 45 | C0-6840 | Bolt | Нет в продаже |
|
| 46 | 2F0415 | Bracket | Нет в продаже |
|
| 47 | C4-3320 | Washer | Нет в продаже |
|
| 48 | C0-6960 | Bolt | Нет в продаже |
|
| 49 | C0-7930 | Bolt | Нет в продаже |
|
| 50 | A1-2015 | Torque hubeomps | Нет в продаже |
|
1
2
3
3
4
5
6
6
6
7
7
7
7
8
9
10
10
10
11
12
13
13
14
14
15
16
17
18
19
20
21
22
23
24
25
26
27
28
28
29
30
31
32
33
34
34
35
36
37
38
39
40
41
42
42
43
43
44
45
46
47
48
49
50
Содержащиеся в справочниках-каталогах запасные части и детали носят исключительно информационный характер