Оригинальные каталоги
| № | Номер | Наименование | Цена | |
|---|---|---|---|---|
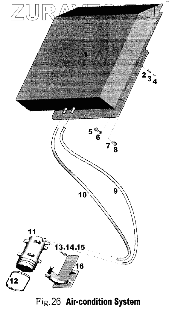
| 1 | A2-0456 | Air-Condition | Нет в продаже |
|
| 2 | C4-3780 | Washer | Нет в продаже |
|
| 3 | C4-3150 | Washer 5 | Нет в продаже |
|
| 4 | C2-6480 | Bolt | Нет в продаже |
|
| 5 | C0-0620 | Bolt | Нет в продаже |
|
| 6 | C4-3240 | Washer | Нет в продаже |
|
| 7 | C4-3860 | Washer | Нет в продаже |
|
| 8 | C3-0460 | Nut | Нет в продаже |
|
| 9 | Diesel Engine Accessories | Нет в продаже |
|
|
| 10 | Diesel Engine Accessories | Нет в продаже |
|
|
| 11 | A2-0463 | Compressor | Нет в продаже |
|
| 12 | Diesel Engine Accessories | Нет в продаже |
|
|
| 13 | C0-2480 | Bolt | Нет в продаже |
|
| 14 | C4-3200 | Washer | Нет в продаже |
|
| 15 | C4-3820 | Washer 8 | Нет в продаже |
|
| 16 | 39E068 | Bracket | Нет в продаже |
|
1
2
3
4
5
6
7
8
9
10
11
12
13
14
15
16
Содержащиеся в справочниках-каталогах запасные части и детали носят исключительно информационный характер