Оригинальные каталоги
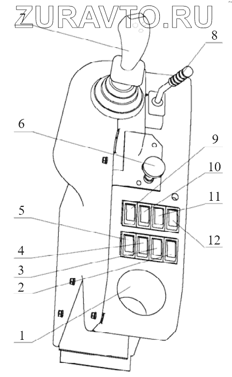
| № | Номер | Наименование | Цена | |
|---|---|---|---|---|
| 1 | CupHolder | Cup holder | Нет в продаже |
|
| 2 | EmergencySwitch | Emergency switch | Нет в продаже |
|
| 3 | InteriorLightSwitch | Interior light switch | Нет в продаже |
|
| 4 | FanSwitch | Fan switch | Нет в продаже |
|
| 5 | WindshieldScraperSwitch | Windshield scraper switch | Нет в продаже |
|
| 6 | EmergencyBrakeDrawbar | Emergency brake drawbar | Нет в продаже |
|
| 7 | PilotController | Pilot controller | Нет в продаже |
|
| 8 | ControllerofMultipleDevices | Controller of multiple devices | Нет в продаже |
|
| 9 | High/LowBeanSwitch | High/low bean switch | Нет в продаже |
|
| 10 | WorkingLightSwitch | Working light switch | Нет в продаже |
|
| 11 | TailLightSwitch | Tail light switch | Нет в продаже |
|
| 12 | Chearance/InstrumentLightSwitch | Chearance/Instrument Light Switch | Нет в продаже |
|
1
2
3
4
5
6
7
8
9
10
11
12
Содержащиеся в справочниках-каталогах запасные части и детали носят исключительно информационный характер