Назад

Оригинальные каталоги

zoom-in zoom-out enlarge shrink circle-right circle-left file-text2 info cart
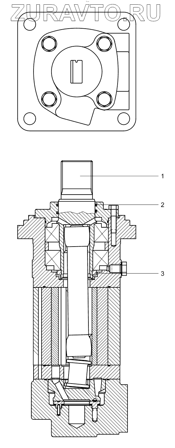
Номер Наименование Цена
1 1030700117 Output shaft of mixing motor Нет в продаже
2 1019900496 Repair kit Нет в продаже
3 1081000437 O-ring Нет в продаже
1
2
3
100%
Содержащиеся в справочниках-каталогах запасные части и детали носят исключительно информационный характер