Оригинальные каталоги
| № | Номер | Наименование | Цена | |
|---|---|---|---|---|
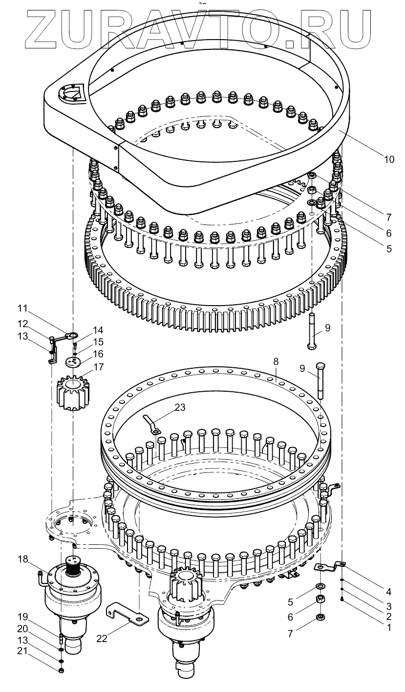
| 1 | 1040000098 | Bolt | Нет в продаже |
|
| 2 | 1040300230 | Washer | Нет в продаже |
|
| 3 | 1040300063 | Washer | Нет в продаже |
|
| 4 | 001607205А0000002 | Support plate | Нет в продаже |
|
| 5 | 1040300178 | Washer | Нет в продаже |
|
| 6 | 1040200443 | Nut | Нет в продаже |
|
| 7 | 1040200292 | Nut | Нет в продаже |
|
| 8 | 1031500045 | Swivel bearing | Нет в продаже |
|
| 9 | 1040000496 | Bolt | Нет в продаже |
|
| 10 | 001618205А0001000 | Gear coaming | Нет в продаже |
|
| 11 | 001616805А0001000 | Mounting device of coder | Нет в продаже |
|
| 12 | 1040000269 | Bolt | Нет в продаже |
|
| 13 | 1040300065 | Washer | Нет в продаже |
|
| 14 | 1040100097 | Screw | Нет в продаже |
|
| 15 | 1040300067 | Washer | Нет в продаже |
|
| 16 | 001618205А0000001 | Cover board I | Нет в продаже |
|
| 17 | 001618205А0000002 | Gear | Нет в продаже |
|
| 18 | 1030200160 | Reductor | Нет в продаже |
|
| 19 | 1040000492 | Pillar bolt | Нет в продаже |
|
| 20 | 1040300186 | Washer | Нет в продаже |
|
| 21 | 1040200110 | Nut | Нет в продаже |
|
| 22 | 001616805А0000002 | Speaker fixing plate | Нет в продаже |
|
| 23 | 001609105А0000001 | Limit-plate | Нет в продаже |
|
1
2
3
4
5
5
6
6
7
7
8
9
9
10
11
12
13
13
14
15
16
17
18
19
20
21
22
23
Содержащиеся в справочниках-каталогах запасные части и детали носят исключительно информационный характер