Оригинальные каталоги
| № | Номер | Наименование | Цена | |
|---|---|---|---|---|
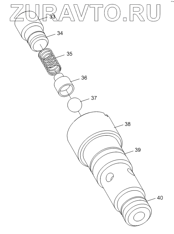
| 1010301847 | 1010301847 | Slewing cushion valve | Нет в продаже |
|
| 33 | Plug | Plug | Нет в продаже |
|
| 34 | O-ring | O-ring | Нет в продаже |
|
| 35 | Spring | Spring | Нет в продаже |
|
| 36 | Ballseat | Ball seat | Нет в продаже |
|
| 37 | Steelball | Steel ball | Нет в продаже |
|
| 38 | Checkvalve | Check valve | Нет в продаже |
|
| 39 | O-ring | O-ring | Нет в продаже |
|
| 40 | O-ring | O-ring | Нет в продаже |
|
33
34
35
36
37
38
39
40
Содержащиеся в справочниках-каталогах запасные части и детали носят исключительно информационный характер