Оригинальные каталоги
| № | Номер | Наименование | Цена | |
|---|---|---|---|---|
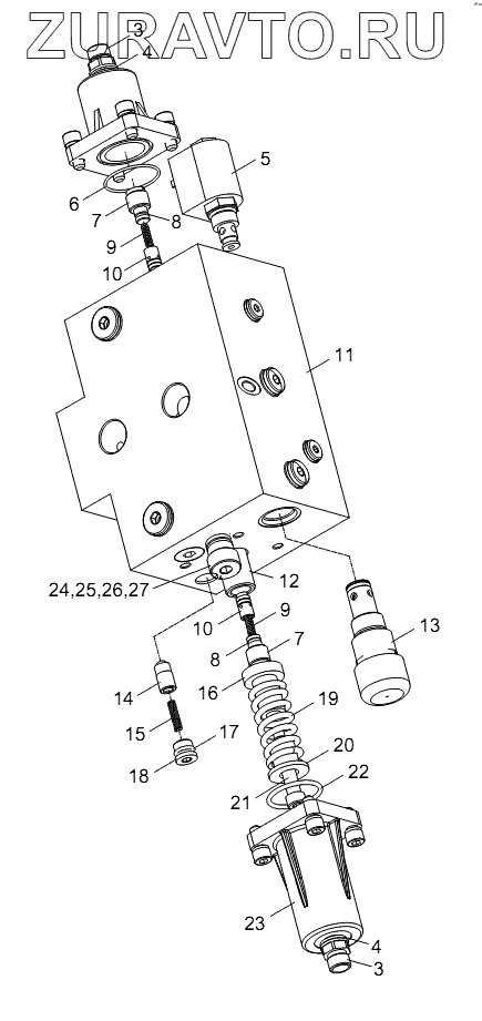
| 1010301847 | 1010301847 | Slewing cushion valve | Нет в продаже |
|
| 3 | Dampervalve | Damper valve | Нет в продаже |
|
| 4 | 1081000528 | Combination seal washer | Нет в продаже |
|
| 5 | Solenoidvalve | Solenoid valve | Нет в продаже |
|
| 6 | 1081003254 | O-ring | Нет в продаже |
|
| 7 | ScrewplugI | Screw plug I | Нет в продаже |
|
| 8 | 1081000103 | O-ring | Нет в продаже |
|
| 9 | Spring | Spring | Нет в продаже |
|
| 10 | Valvecore | Valve core | Нет в продаже |
|
| 11 | Valvebody | Valve body | Нет в продаже |
|
| 12 | Valvestem | Valve stem | Нет в продаже |
|
| 13 | 1019803856 | Relief valve assembly | Нет в продаже |
|
| 14 | Checkvalve | Check valve | Нет в продаже |
|
| 15 | Spring | Spring | Нет в продаже |
|
| 16 | SpringseatI | Spring seat I | Нет в продаже |
|
| 17 | 1081003221 | O-ring | Нет в продаже |
|
| 18 | Plug | Plug | Нет в продаже |
|
| 19 | Spring | Spring | Нет в продаже |
|
| 20 | SpringseatII | Spring seat II | Нет в продаже |
|
| 21 | Screw | Screw | Нет в продаже |
|
| 22 | 1081000121 | O-ring | Нет в продаже |
|
| 23 | Springcover | Spring cover | Нет в продаже |
|
| 24 | Valveseat | Valve seat | Нет в продаже |
|
| 25 | 1081003222 | O-ring | Нет в продаже |
|
| 26 | Spring | Spring | Нет в продаже |
|
| 27 | Valvecore | Valve core | Нет в продаже |
|
3
3
4
4
5
6
7
7
8
8
9
9
10
10
11
12
13
14
15
16
17
18
19
20
21
22
23
24
25
26
27
Содержащиеся в справочниках-каталогах запасные части и детали носят исключительно информационный характер