Назад

Оригинальные каталоги

zoom-in zoom-out enlarge shrink circle-right circle-left file-text2 info cart
Номер Наименование Цена
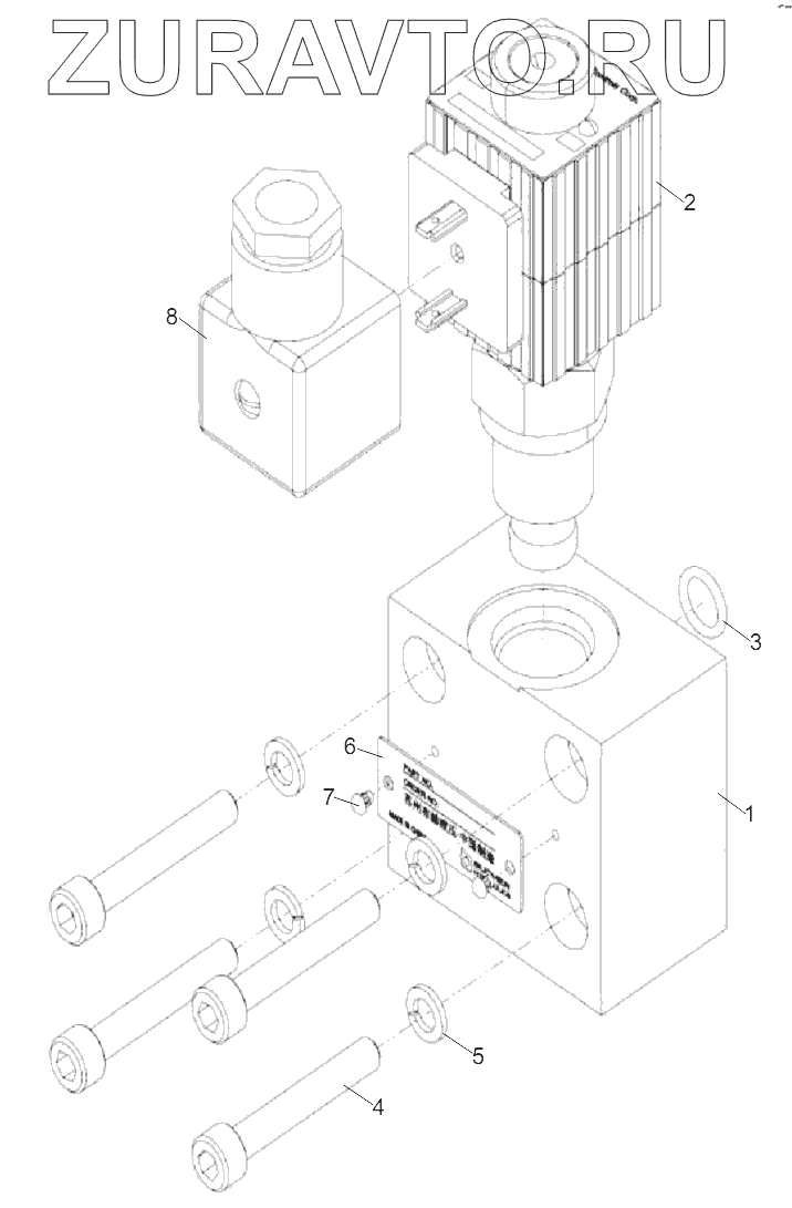
1010302063 1010302063 Solenoid valve Нет в продаже
1 1019803227 Valve block Нет в продаже
2 1019803228 Valve Нет в продаже
3 1019803229 O-ring Нет в продаже
4 1019803230 Hexagon screw Нет в продаже
5 1019803231 Spring washer Нет в продаже
6 1019803232 Name plate Нет в продаже
7 1019803224 Rivet Нет в продаже
8 1019803233 Electrical plug Нет в продаже
1
2
3
4
5
6
7
8
100%
Содержащиеся в справочниках-каталогах запасные части и детали носят исключительно информационный характер