Оригинальные каталоги
| № | Номер | Наименование | Цена | |
|---|---|---|---|---|
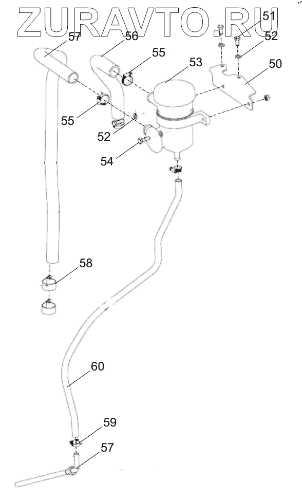
| 50 | 1009802353 | Oil gas separator bracket | Нет в продаже |
|
| 51 | 1009801461 | Hex bolt | Нет в продаже |
|
| 52 | 1009801693 | Flat washer | Нет в продаже |
|
| 53 | 1009802348 | Oil gas separator | Нет в продаже |
|
| 54 | 1009801307 | Hex bolt | Нет в продаже |
|
| 55 | 1009801448 | Clamp | Нет в продаже |
|
| 56 | 1009802368 | Hose, oil circuit | Нет в продаже |
|
| 57 | 1009802365 | Hose, oil circuit | Нет в продаже |
|
| 58 | 1009802367 | Pipe clamp | Нет в продаже |
|
| 59 | 1009802193 | Clamp | Нет в продаже |
|
| 60 | 1009802355 | Hose, oil circuit | Нет в продаже |
|
50
51
52
52
53
54
55
55
56
57
57
58
59
60
Содержащиеся в справочниках-каталогах запасные части и детали носят исключительно информационный характер