Оригинальные каталоги
| № | Номер | Наименование | Цена | |
|---|---|---|---|---|
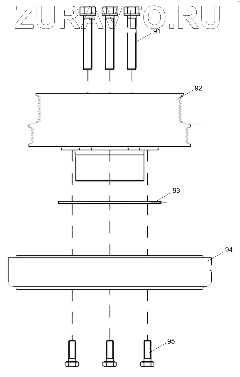
| 91 | 1009802257 | Belt pulley bolt | Нет в продаже |
|
| 92 | 1009802272 | Belt pulley, camshaft | Нет в продаже |
|
| 93 | 1009802259 | Shim | Нет в продаже |
|
| 94 | 1009802273 | Shock absorber | Нет в продаже |
|
| 95 | 1009801353 | Hex bolt | Нет в продаже |
|
91
92
93
94
95
Содержащиеся в справочниках-каталогах запасные части и детали носят исключительно информационный характер